Wind load macro
Hi,
What does the green arrow mean in the wind load macro and how should I interpret it? I would like to use it for an external wall and want to understand the definition. Could you please provide me with an example?

Hi,
What does the green arrow mean in the wind load macro and how should I interpret it? I would like to use it for an external wall and want to understand the definition. Could you please provide me with an example?

It is showing the green arrow "External side" for that particular wall-segment.
That arrow should allways point outwards.
And even if you have several wall-elements in the same facade then there should only be one green arrow.
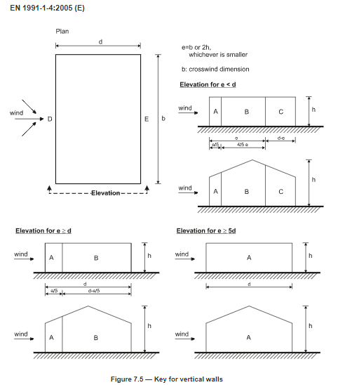
The "External wall" will then be divided automatically by the program and loads will be applied according to A-C, D, E, F-I parts in EN 1991-1-4:
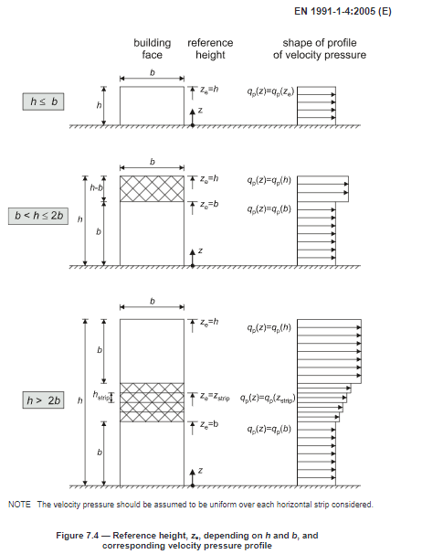
Load strips is not needed to be defined unless the height of the building is h>b (the two lower options in the picture below):
Thank you, Fredrik!
My particular concern is to use the wind load macro for a cylindrical structure.
I have approximated the shape of the cylinder with facet shell elements and assigned a climate load panel to them.
Then I used the,,generate wind load'' and got a somewhat good representation of the load. However, I would like to make some modifications to the factors. This is for better representing the Eurocode load distribution on cylindrical structures.
As you can see it looked more or less similar, but I would like to have some user interaction for the panels.
Is this possible?
/JK